Povia e il concerto annullato: ‘etichettato come cantante di destra’
Musica: il cantante Povia polemico con l’estremizzazione: ‘il mio concerto è stato annullato, perchè etichettato come cantante di destra’ Il ...
Musica: il cantante Povia polemico con l’estremizzazione: ‘il mio concerto è stato annullato, perchè etichettato come cantante di destra’ Il ...
Un sondaggio ha evidenziato ancora una volta, quello che purtroppo già da qualche anno era venuto alla luce: La Gen ...
Un ritrovamento ha scosso il mondo dell’archeologia: scoperto il segreto della ‘Mummia urlante’ Nel 1935, una spedizione archeologica a Deir ...
Il caffè può essere un alleato quotidiano per il benessere fisico dell’intestino, selezionando i batteri buoni del microbiota, ma come? ...
Carceri, il trend è allucinante. dal 2014 a oggi sono stati oltre 600 i suicidi e si rischia un triste ...
Dalla paralisi all’infarto, cosa rischi se ti colpisce un fulmine In Italia, la stagione estiva porta con sé non solo ...
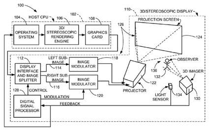
Se oggi volete gustarvi un film in tre dimensioni, non dovete fare altro che avere un televisore HD e 3D ready, ed almeno un paio di occhiali 3D, che vi consentiranno di vedere delle favolose immagini che sembrano realmente uscire fuori dal proprio televisore.

Apple in realtà ha appena brevettato un sistema di multiproiezione 3D che ci permetterà di mettere nel cassetto i nostri preziosi occhiali 3d: il nome è già un programma «Three-dimensional display system» ovvero una sorta di autostereoscopica visione, che permetterà all’utente di visualizzare le immagini in 3 dimensioni da qualsiasi angolazione, grazie a degli speciali proiettori di ologrammi in parallasse.
Al momento non si riesce a sapere ancora nulla di più, e speriamo che in poco tempo si abbiano maggiori informazioni e dettagli.
via [the register]
© 2024 G Tech Group S.R.L.S. – Via di Gagia 22, 38086 Giustino (TN) – P.IVA 02743570224 – REA TN – 246638 – SDI SZLUBAI -PEC gtechgroupsrls@postacert.eu